上海滬工閥門廠(集團)有限公司
2-9 管道的大修程序有哪些?
答:管道的大修程序如下:

2-10 管道的新裝工程的工作程序有哪些?
答:管道新裝工程的工作程序如下:

2-11 管道移裝工程的工作程序有哪些?
答:管道移裝工程的工作程序如下:

2-12 管道新裝及驗收有哪些要求?
答:管道新裝及驗收要求是:
企業在更新、改裝和加裝動力管線是,均由主管部門簽發動力管線(改)裝施工單。施工完畢后,繪制竣工圖交專管部門驗收并歸檔保存,以便定期修改管線圖時使用。未經專管部門批準,不準擅自拆除(事故處理除外)動力管線。
企業動力部門在今后基建及技術項目聯合驗收時,應按有關規定接受施工單位的竣工管線圖和有關技術資料,管道新裝驗收單可參考表 2-15 所示。
| 單元編號 | 名稱 | 安裝位置 | 施工單位 | 管理單位 | 工程圖號 | 備注 | |
| 管道材料 | 管道位置 | ||||||
| 主要參數 | 管徑 | ||||||
| 管長 | |||||||
| 管子附件 | |||||||
| 閥門 | 規格 | ||||||
| 數量 | |||||||
| 移交部門 | 主管: | 使用部門 | 主管: | 主管部門 | 主管: | 財務部門 | 主管: |
| 移交人員: | 設備員: | 經辦人員: | 經辦人員: | ||||
2-13 動力管道修理竣工的驗收程序有哪些?
答:動力管道修理竣工的驗收程序如下:

動力管道修理驗收單見表 2-16。
| 設備編號 | 名稱 | 復雜系數 | 修理類別 | |||||
| 工程圖號 | 承修小組 | 驗收日期 | ||||||
| 管道技術員意見: (簽名): 年 月 日 | ||||||||
| 動力科技書管理組意見: (簽名): 年 月 日 | ||||||||
| 動力科領導意見: (簽名): 年 月 日 | ||||||||
| 備注 | ||||||||
2-14 技術、基建工程新裝、移裝動力管道的驗收程序有哪些?
答:技術、基建工程新裝、移裝動力管道的驗收程序如下:

2-15 動力管道圖的驗收歸檔程序有哪些?
答:動力管道圖的驗收歸檔程序如下:

2-16 動力管道大修理內容有哪些?
答:動力管道大修理內容是:
1)拆換已壞管道。
2)修理閥門、研磨閥座或更換閥門。
3)修理或更換部分動力接頭箱。
4)清洗修理明管(指架空及地上管道)的內外壁和埋地管道的內壁。
5)給支架和管道刷涂面漆。
6)檢查蒸汽管保溫層級保溫外殼。
7)清洗和修理管道各種附件及部件(如汽水分離器等),并進行涂漆。
8)對管道的修理部分必須按規定要求進行強度試驗和氣密封性試驗。
2-17 動力管道一般檢修內容有哪些?
答:動力管道一般檢修內容是:
1)清理管道(明管)的外表。
2)更換已損壞的法蘭襯墊及管件。
3)檢修閥門的密封件及填料。
2-18 動力管道的修理周期是多少?
答:動力管道修理周期見表 2-17。
| 名稱 | 修理周期 | 備注 |
| 蒸汽管道 | 2年大修一次 | 對運行狀態良好,維修保養較好的可以每3-4年大修一次 |
| 采暖管道 | 1年大修一次 | |
| 乙炔管道 | 2年大修一次 | |
| 壓縮空氣管道 | 4年大修一次 | 室外管道每2~4 年油漆一次 |
| 給水管道 | 4年大修一次 | 1~2 年進行一次清理 |
| 燃油管道 | 1年大修一次 | 半年進行一次清理 |
| 氧氣管道 | 1~2年大修一次 | |
| 煤氣管道 | 1~2年大修一次 | |
| 制冷管道 | 1年大修一次 |
2-19 動力管道的大修理復雜系數是多少?
答:動力管道大修理復雜系數見表 2-18。
![]() |
壓縮空氣管道給水管道 | 蒸汽管道 | 乙炔管道 | 氧氣管道 |
| <25 | 1.1 | 1.5 | 1.4 | 1.4 |
| 50 | 1.3 | 1.7 | 1.6 | 1.6 |
| 80 | 1.9 | 2.5 | — | 2.3 |
| 100 | 2.4 | 3.0 | — | 2.8 |
| 150 | 2.8 | 3.6 | — | — |
| 200 | 3.5 | 4.5 | — | — |
| 250 | 4.5 | — | — | — |
| 300 | 5.3 | — | — | — |
| 350 | 6.0 | — | — | — |
| 400 | 7.8 | — | — | — |
注:每 100m 的動力管道大修復復雜系數。
表 2-18 列出了 每 100m 動力管道的大修理發雜系數(按三級工技術水平計)。
2-20 動力管道維修工時定額是多少?
答:動力管道修理工程是定額見表 2-19。
| 項目 | 大修理 | ||||
| 管道工 | 焊工 | 起重工 | 挖土工及輔助工 | 合計 | |
| 工時額定 | 35 | 10 | 15 | 20 | 85 |
由于各企業目前的管理水平不一,管理人員平均技術等級不一,所以動力管道修理復雜系數的工時額定還不統一,以后應通過加強管理和培訓使之逐步統一。
2-21 管道使用前檢驗內容是什么?
答:管道使用前檢驗指在使用前對管道的制造和安裝質量進行了全面審核驗收。
1)審查施工圖樣及施工技術要求等是否符合有關標準、規范。
2)審查管材、管件、閥門等是否有合格證及質量說明書。其化學成分、力學性能、無損檢測、耐壓試驗應符合 GB 50235-1997《工業金屬管道工程施工及驗收規范》。對缺項應進行補充檢驗。
3)審查安裝記錄。包括加工檢驗、焊接工藝評定、無損檢測報告、返修記錄、熱處理、耐壓試驗、酸洗、吹掃、防腐保溫登記錄(報告)。其技術要就應符合 GB 50236—1998《現場設備、工業管道焊接工程施工及驗收規范》。
4)對管道的外觀、幾何尺寸、安裝質量、無損檢測、防腐保溫等進行抽檢。對壓力管道的抽檢應不低于整條管線 10% 的比例。
2-22 管道在線檢驗內容是什么?
答:管道的在線檢驗,是指在運行時進行的檢驗,包括內容:
1)檢查管道及其接口法蘭、接頭、焊接、閥門填料等泄漏情況。
2)檢查管道振動、活動支架位移和固定支架牢固等情況。
3)檢查防腐、保溫層的完好情況。
4)檢查安全附件可靠靈敏情況。
5)對于安全管道,必要時檢檢查壁厚情況。
2-23 管道的全面檢驗內容是什么?
答:管道的全面檢驗,是指停車大檢修是的檢驗,它包括在線檢驗內容和一下內容:
1)檢查管道表面裂紋、褶迭、重皮、局部腐蝕、碰上變形、局部過熱等情況。
2)檢查焊接接頭裂紋、凹陷、錯邊、咬邊等情況。
3)檢查彎頭、彎管的異常變形情況。
根據介質的物理狀況及流向,對易受介質沖刷、可能積液、曲率變化及腐蝕部位進行測后檢查。每段管測厚范圍應大于等于三點。發現問題應擴大測后范圍,找出異常區域。當壁厚 <10% 時,對壓力管道,還應做強度校核。
5)對宏觀檢查發現裂紋、保溫層破損可能滲入水以及有可能產生疲勞的壓力管道焊縫、管道表面、管接頭及連接螺栓應做便面檢測;對重要的壓力管道焊縫還應做 ≥10% 的射線或超聲波檢測。
6)壓力管道的前面檢驗周期,一般每小于等于 6 年進行一次。
2-24 工業管道完好標準內容是什么?
答:工業管道完好標準內容見表 2-20。
| 項目 | 內容 | 考核定分 |
| 1 | 管道技術檔案資料齊全、正確,有管線圖,安裝(改裝)竣工圖等,并按有關規定列入設備固定資產 | 10 |
| 2 | 管道防腐保溫性能符合有關設計規范要求,油漆明亮,色標色環達到規定要求,主要干線有明顯指標介質流動方向、管道、閥門等總泄露率 ≤2‰ | 16 |
| 3 | 管道敷設應能滿足生產工藝要求或生活需要,選用管材及附件應符合有關規范的要求 | 16 |
| 4 | 架空管道的支架、吊架結構合理,支撐妥善,支架間距合理,符合技術規范;埋地管道應采取措施解決膨脹和水浸蝕問題,且有穩固基礎和良好保溫設施,檢查并設置合理;地溝內敷設管道應能保護管道不受外力和水的浸蝕,地溝油良好的防水排水措施 | 16 |
| 5 | 管道的敷設應有合適坡度,順坡或逆坡應符合有關設計規范要求,并在最低點設排水裝置;煤氣、氧氣、供油管道等應有可靠的措施,以導泄靜電,接地電阻及重復接地符合有關規范要求 | 16 |
| 6 | 做好管道的強度試驗等工作,并有記錄 | 16 |
| 7 | 管道在廠區和車間架空或埋地敷設時,與其他管道、電力線路、電信線路及建筑物之間的水平和垂直交叉凈距,應符合有關設計范圍要求 | 10 |
2-25 蒸汽管路及分汽缸完好標準內容是什么?
答:蒸汽管路及分汽缸完好標準內容見表 2-21。
| 項目 | 內容 | 考核定分 |
| 1 | 分汽缸設計制造符合規定要求,試驗合格,保溫良好,無漏氣、漏水現象 | 20 |
| 2 | 管路布置敷設合理整齊,保溫良好,色標正確 | 20 |
| 3 | 工作壓力不同的鍋爐,并分別裝有獨立的蒸汽管道和給水管道;如合用一條蒸汽干管較高壓力的蒸汽管道上必須有自動減壓裝置,分汽缸上應裝置壓力表和安全圈 | 20 |
| 4 | 應有明顯的標記指示汽,水流動的方向和閥門開關方向 | 20 |
| 5 | 可分為省煤器的入口和通向鍋筒的給水管,應分別裝設給水截止閥和給水止回閥(截止閥應裝在鍋筒或雀煤器入口處和止回閥之間) | 20 |
2-26 壓力管道日常檢查、保養項目有哪些?
答:壓力管道日常檢查、保養項目見表 2-22。
| 項目檢查 | 檢查方法 | 檢查內容 | 問題的危害 | 保養方法和措施 |
| 壓力表 | 目測校驗 | 1)表面玻璃是否完整 | 因指標不正確可能造成超壓 | 定期校驗和維修 |
| 2)指示是否靈敏 | ||||
| 3)導壓管是否通暢 | ||||
| 4)鉛封是否完好 | ||||
| 電偶溫度計 | 目測校驗 | 溫度指示是否標準 | 超溫會產生管道材料應力腐蝕、蠕變等 | 定期校驗和維修 |
| 安全閥 | 目測 | 1)有無異物卡在閥芯和彈簧中間 | 1)漏氣 | 停車或泄壓是進行調校 |
| 2)彈簧及其他零件有無破損,是否漏氣 | ||||
| 3)彈簧及其他零件有無損換,是否漏氣 | 2)在超壓時因安全閥不能起跳造成管道事故 | |||
| 4)鉛封是否完好 | ||||
| 5)隔斷閥鉛封是否完好 | ||||
| 爆碎片 | 目測 | 1)膜片是否存在缺陷 | 同上 | 注意安裝前的檢驗;按規定定期更換 |
| 2)導管是否暢通 | ||||
| 管道支架 | 目測、耳聽、手摸 | 1)支架是否松動 | 管道因磨損和疲勞而斷裂;管道應力增大 | 把緊螺栓或加固 |
| 2)管道有無振動 | ||||
| 3)支架是否損毀 | ||||
| 管架基礎 | 目測 | 1)基礎是否下沉 | 基礎損壞,使管道承受附加應力,威脅安全生產 | 1)定期觀察基礎下沉情況,采取針對性措施 |
| 2)基礎有無裂縫 | 2)測定裂紋是否繼續擴大 | |||
| 絕熱層 | 目測表面溫度計 | 1)支主材料是否損傷脫落、受潮、失效 | 1)產生管道熱損失 |
更換保溫材料;損壞要及時修復 |
| 2)防潮層是否損壞、失效 | 2)腐蝕 | |||
| 3)外護層是否損傷、脫落 | 3)保溫結構失去保護,過早破壞 | |||
| 閥門填料 | 目測 | 有無泄漏 | 影響環境衛生、文明生產和安全 | 裝填料和緊密封函時要嚴格按技術要求辦 |
| 螺栓 | 目測 | 1)是否銹蝕 | 1)造成螺旋、絲扣腐蝕 | 涂防銹油;把緊螺栓 |
| 2)是否松動 | 2)造成泄漏 |
2-27 管道法蘭密封面泄露的主要原因與防止措施是什么?
答:管道法蘭密封面泄露的主要原因與防止措施見表 2-23。
| 泄漏原因 | 泄漏狀況說明 | 防止措施 |
| 多高溫、高壓的結構選擇不當 | 即使正確施工,緊固很好,也仍然泄漏不止或由于熱應力等經常發生泄漏 | 要重新研究法蘭、墊圈、螺栓等的結構和材料等 |
| 由于管系的熱應力等異常應力而引起的法蘭或螺栓的損傷 | 如破損就會發生泄露,但即使不破損,墊圈壓面的變化,也常常發生泄露 | 要重新研究管系的撓性,必要時增加撓性 |
| 法蘭、墊圈、螺栓的熱膨脹不均 | 即使結構等均良好,但法蘭部位有溫度梯度時,也往往發生泄漏 | 緩和法蘭部位的溫度梯度,可降低熱圈系數 |
| 法蘭剛性不足,墊圈配合面的缺陷 | 法蘭變形,不能得到均勻面適當的墊圈壓面 | 提高法蘭的剛性,可降低熱圈系數 |
| 法蘭平衡性不好、中心偏差 | 安裝不當或機械損傷而是墊圈不貼合處泄漏 | 重點加工墊圈配合面,或更換法蘭,校正法蘭的平行性和中心線 |
| 螺栓強度不足,松動和腐蝕 | 在高溫情況下,有強度不足(蠕變)的情況;由于振動,熱變化、應力緩和而松動;多數是來自外部的腐蝕 | 重新研究螺栓材料及其尺寸;增大螺栓尺寸,使熱變化均勻,經常緊固螺栓;更換新螺栓 |
| 墊圈承壓力不足;受腐蝕;變質,或材料缺陷 | 由各種綜合情況而引起;或由于流體的作用而腐蝕,或隨使用時間的增加而變質 | 緊固螺栓,考慮材料及形狀,改變尺寸或更換新墊圈 |
2-28 氧氣管道試壓要求有哪些?
答:氧氣管道應定期進行強度試驗和嚴密性試驗,具體要求見表 2-24。強度試驗一般采用水壓試驗。氧氣管道試壓時,使用的試驗介質都應是無油的,水壓泵也必須除油。
| 類別 | 工作壓力 p/MPa | 強度試驗 | 嚴密性試驗 | ||
| 試驗用介質 | 試驗壓力/MPa | 試驗用介質 | 試驗壓力/MPa | ||
| 氧氣管道 | >2.98 | 水 | 1.25p | 空氣 | p |
| 0.07~2.98 | 空氣 | 1.1p | 空氣 | p | |
| 或水 | 1.25p | 空氣 | p | ||
| <0.07 | 空氣 | 1 | 空氣 | p | |
| 空氣、氧氣及氮氣 | >2.98 | 水 | 1.25p | 空氣 | p |
| 0.07~2.98 | 空氣 | 1.1p | 空氣 | p | |
| 或水 | 1.25p | 空氣 | p | ||
| <0.07 | 空氣 | 1 | 空氣 | p | |
如以氣壓來進行試驗,應按試驗壓力的 20% 分級壓力;升至所要求的試驗壓力后,觀測 5min,如壓力下降,則將壓力降至工作壓力進行外觀檢查,無破裂、變形或漏氣等情況即認為合格。如以水壓來進行試驗,升至所要求的試驗壓力后,觀測 10min,其余要求同氣壓試驗。
強度試驗合格后在進行嚴密性試驗,試驗壓力升至規定值時,在所有接口處圖皂液檢查,并觀測 24h,如無缺陷且平均每小時漏氣率 ≤1% 為合格。
2-29 管道的類型、選材及用途有哪些?
答:常用管道的類型、選材及用途見表 2-25 所示。
| 序號 | 管道類型 | 選用材料 | 一般用途 | 標準號 | 備注 | |
| 1 | 無縫鋼管 | 中低壓用 | 普通碳素鋼、優質碳素鋼,低合金鋼、合金結構鋼 | 輸送對碳鋼無腐蝕或腐蝕速度很小的各種流體 | GB/T 8163—1999(2008) | |
| GB/T 3082—1984(2008) | ||||||
| GB/T 9948—2006 | ||||||
| 高要用 | 20、15MnV 等 | 合成氨、尿素、甲醇生產中大量使用 | GB/T 6479—2000 | |||
| 不銹鋼 | 1Cr18Ni9Ti 等 | 液堿、丁醛、丁醇、液氮、硝酸、硝銨溶液的輸送 | GB/T 14975—2002 | |||
| 2 | 焊接鋼管 | 水煤氣輸送鋼管 | Q235—A | 適用于輸送水、壓縮空氣、煤氣、乏汽、冷凝水和采暖系統的管理 | GB/T 3091—20088 | |
| 螺旋縫電焊鋼管 | Q235、16Mn 等 | SY/T 5037—2000 | ||||
| 不銹鋼焊接鋼管 | 1Cr18Ni9Ti 等 | HG 20537.3—1992 | ||||
| HG 20537.4—1992 | ||||||
| 3 | 金屬軟管 | 釬焊不銹鋼軟管 | 1Cr18Ni9Ti | 一般適用于輸送帶有腐蝕性氣體 | ||
| P2 型耐壓軟管 | 低碳鍍鋅鋼帶 | 一般用于輸送中性的液體、氣體及混合物 | ||||
| P3 型吸塵管 | 低碳鍍鋅鋼帶 | 一般用于通風、吸塵的管道 | ||||
| PM1 型耐壓管 | 低碳鍍鋅鋼帶 | 一般用于輸送中性液體 | ||||
| 4 | 有色金屬 | 銅管和黃銅管 | T2、T3、T4、TUP、TU1、TU2、H68、H62 | 適用于一般工業部門,用作機器和真空設備上的管理及壓力小于 10MPa 時的氧氣管路 | GB/T 1527—2006 | |
| 鉛及其合金管 | 純鉛,Pb4、Pb5、Pb6,鉛銻合金(硬鉛),PbSb4、PbSb6、PbSb8 | 適用于化學、染料、制藥及其他工業部門做耐酸材料的管道,如輸送 15%~65% 的硫酸,干或濕的二氧化硫,60% 的氫氟酸,含量小于 80% 的醋酸,鉛管的最高使用溫度為 200℃,但溫度高于 140℃時,不宜在壓力下使用 | GB/T 1472—2005 | |||
| 鋁及其合金 | L2、L3、工業純鋁 | 鋁管用于輸送脂肪酸、硫化氫及二氧化碳,鋁管最高使用溫度 200℃,溫度高于 160℃ 時,不宜在壓力下使用,鋁管還可以用于輸送濃硝酸、醋酸、蟻酸、硫的化合物及硫酸鹽。不能用于鹽酸、堿液,特別是含氯離子的化合物。鋁管不可用對鋁有腐蝕的碳酸鎂、含堿玻璃棉保溫 | GB/T 6893—2000 | |||
| GB/T 4436—1995 | ||||||
| 5 | 纖維纏繞玻璃鋼管 | 承插膠粘直管、對接直管和 O 形環承插連接直管 | 玻璃鋼 | 一般用在公稱壓力 0.6~1.6MPa、公稱直徑大于 50mm 的官道上 | ||
| 玻璃鋼管 | 玻璃銅 |
低壓接觸成型直管使用壓力小于等于 0.6MPa,長絲纏繞直管,使用壓力小于等于 1.6MPa |
||||
| 6 | 增強聚丙烯管 | 聚丙烯 | 具有輕質高強,耐腐蝕性好,致密性好、價格低等特點,使用溫度為 120℃,使用壓力為小于等于 1.0MPa | HG 20539—1992 | ||
| 7 | 玻璃管增強聚氯乙烯復合管 | 玻璃、聚氯乙烯 | 一般用于公稱直徑 15~4000mm,PN 小于等于 1.6MPa 的管道上 | HG/T 3731—2004 | ||
| 8 | 玻璃鋼增強聚氯乙烯復合管 | 玻璃鋼、聚氯乙烯 | 使用壓力小于等于 1.6MPa | |||
| 9 | 鋼襯改性聚丙烯復合管 | 鋼、聚丙烯 | 使用壓力可大于 1.6MPa | |||
| 10 | 鋼襯聚四氟乙烯推壓管 | 鋼、聚四氟乙烯 | 使用壓力可大于 1.6MPa | |||
| 11 | 鋼襯高性能聚乙烯管 | 鋼、聚乙烯 | 具有耐腐蝕、耐磨損等特點 | |||
| 12 | 鋼噴涂聚乙烯管 | 鋼、聚乙烯 | 使用壓力小于等于 0.6MPa | |||
| 13 | 鋼襯橡膠管 | 鋼、橡膠 | 使用壓力可大于 1.6MPa | HG 21501—1993 | ||
| 14 | 鋼襯玻璃管 | 鋼、玻璃 | 使用壓力可大于 1.6MPa | HG/T 2130—1991 | ||
| 15 | 搪玻璃管 | 鋼、瓷釉 | 使用壓力可小于 0.6MPa | |||
| 16 | 硬聚氯乙烯管 | 聚氯乙烯 | 公稱壓力 0.63~2.5MPa | GB/T 4219.1—2008 | ||
| 17 | ABS 管 | ABS | 使用壓力小于等于 0.6MPa | |||
| 18 | 耐酸陶瓷管 | 陶瓷 | 使用壓力小于等于 0.6MPa | |||
| 19 | 聚丙烯管 | 聚丙烯 | 一般用于化工防腐蝕管道上 | |||
| 20 | 氟塑料管 | 聚四氟乙烯 | 耐腐蝕、且耐負壓 | |||
| 21 | 輸水,吸水膠管 | 橡膠 | 1)夾套輸水膠管,輸送常溫水和一般中性液體,公稱壓力小于等于 0.7MPa | HG/T 2184—2008 | ||
|
2)纖維纏繞輸水膠管,輸送常溫水,工作壓力小于等于 1.0MPa |
||||||
| 3)吸水膠管,適用于常溫水和一般中性液體 | ||||||
| 22 | 夾布輸氣管 | 膠管 | 一般適用輸送壓縮空氣和惰性氣體 | |||
| 23 | 輸油、吸油膠管 | 耐油橡膠 | 1)夾布吸油膠管,適用于輸送 40℃ 以下的汽油、煤油、柴油、機油、潤滑油及其他礦物油類,工作壓力小于等于 1.0MPa | |||
| 2)吸油膠管,適用于抽吸 40℃ 以下的汽油、煤油、柴油以及其他礦物油類 | ||||||
| 24 | 輸酸、吸酸膠管 | 耐酸膠 | 1)夾布輸稀酸(堿)膠管,適用于輸送含量在 40% 以下的烯酸(堿)溶液(硝酸除外) | |||
| 2)吸稀酸(堿)膠管,適用于抽吸含量在 40% 以下的烯酸(堿)溶液(硝酸除外) | ||||||
| 3)稀濃硫酸管,適用于抽吸含量在 95% 以下的濃硫酸及 40% 以下的硝酸 | ||||||
| 25 | 蒸汽膠管 | 合成膠 | 1)夾布蒸汽膠管,適用于輸送壓力小于等于 0.4MPa 的飽和蒸汽或溫度小于等于 150℃ 的熱水 | HG/T 3036—1999 | ||
|
2)鋼絲編織蒸汽膠管、供輸送壓力小于等于 1.0MPa 的飽和蒸汽 |
||||||
| 26 | 耐磨吸引膠管 | 合成膠 | 適用于輸送含固體顆粒的液體和氣體 | |||
| 27 | 合成樹脂復合排吸壓力軟管 | 合成樹脂 | 適用于輸送或吸抽燃料油、變壓器油、潤滑油以及化學藥品、有機溶劑 | |||
2-30 螺紋聯接件如何裝配?
答:螺紋連接件的裝配和拆卸一樣,不僅要使用合適的工具、設備,還要按技術文件的規定施加適當的擰緊力矩。表 2-26 列出的是擰緊碳素鋼螺紋件的參考力矩。
用扳手擰緊螺栓時,應使其直徑的大小來確定是否用套管加長扳手,尤其是螺栓直徑在 20mm 以內時要注意用力的大小,以免損壞螺紋。
重要的螺紋聯接件都有規定的擰緊力矩,安裝時必須用力矩扳手按規定擰緊螺栓。對組成螺紋聯接的裝配,施力要均勻,按一定次序輪流擰緊,如圖 2-1 所示。如有定位裝置(銷)時,應先從定位裝置附近開始。

圖 2-1 螺紋組擰緊順序
0—定位銷
| 螺紋尺寸/mm | M8 | M10 | M12 | M14 | M16 | M18 | M20 | M22 | M24 |
| 標準擰緊力矩/N·m | 10 | 30 | 35 | 53 | 85 | 120 | 190 | 230 | 270 |
2-31 螺紋聯接中如何防止松動?
答:如果螺紋聯接一旦出現松脫,輕者會影響機器的正常運轉,重者會造成嚴重的事故。因此,裝配后應采取有效措施,防止聯接松脫,保證聯接安全可靠。
防松的方法,按照其工作原理可分為摩擦防松、機械防松、鉚沖防松等。粘合防松法近年來得到了發展,他是在旋合的螺紋間涂以液體密封膠,待硬化后使螺紋副精密粘合,這種防松方法,效果良好且具有密封作用。此外,還有一些特殊的防松方法適用于某些專業產品的特殊需求,目前常用的防松方法見表 2-27。
| 防松方法 | 結構方式 | 特點和應用 | |
| 摩擦防松 | 對頂螺母 |
![]() |
兩螺母對頂擰緊后,使旋合螺紋間始終受到附加的壓力和摩擦力的作用。工作載荷有變動時,該摩擦力仍然存在,旋合螺紋間的接觸情況如圖所示,下螺母螺紋牙受力較小,其高度可小些,但為了防止裝錯,兩螺母的高度取成相等為宜。 結構簡單、適用于平穩、低速和重載的聯接 |
| 彈簧墊圈 |
![]() |
螺母擰緊后,靠墊圈壓平時而產生的彈性反力使旋合螺紋間壓縮。同時,墊圈斜口的尖端抵注螺母與被聯接件的之承面也有防松作用 結構簡單,防松方便。但由于墊圈的彈力不均,在沖擊、振動的工作條件下,其防松效果較差。一般用于不甚重要的聯接 |
|
| 自鎖螺母 |
![]() |
螺母一端制成非圓形收口,當螺母擰緊后,收口漲開,利用收口的彈力使旋合螺紋間壓縮 結構簡單,防松可靠,可多次裝拆而不降低放防松性能。適用于較重要的聯接 |
|
| 機械防松 | 開口銷與槽形螺母 |
![]() |
槽型螺母擰緊后將開口銷穿入螺栓尾部小孔和螺母的槽內。并將開口銷尾部掰開與螺母側面貼緊。也可用普通螺母代替槽型螺母,但需擰緊螺母后再配鉆孔 適用于較大沖擊、振動的高速機械的聯接 |
| 止動墊圈 |
![]() |
螺母擰緊后,將單耳或雙耳止動墊圈分別向螺母和連接件的側面折彎貼緊,即可將螺母鎖住。若兩個螺栓需要雙聯鎖緊時,可采用雙聯制動墊圈,是兩個螺母相互制動。 結構簡單,使用方便,防松可靠 |
|
| 串聯鋼絲 |
![]() |
用低碳鋼絲穿入各螺釘頭部的孔內,將各螺釘串聯起來,使其相互制動,使用時必須注意鋼絲的穿入方向(上圖正確,下圖錯誤) 適用于螺釘組聯接,防松可靠,但裝拆不便 |
|
| 鉚沖防松 | 端鉚 |
![]() |
螺母擰緊后,把螺栓末端伸出部分鉚死。防松可靠,但拆卸后聯接件不能重復使用。適用于不需拆卸的特殊聯接 |
| 沖點 |
![]() |
螺母擰緊后,利用沖頭在螺栓末端與螺母的旋合縫處打沖,利用沖點防松 防松可靠,但拆卸后聯接件不能重復使用。適用于不需拆卸的特殊聯接 |
|
2-32 螺紋聯接裝配時應注意什么?
答:螺紋聯接裝配時應注意如下幾點:
1)正確選擇裝配工具,做到所選用工具使用方便并避免損壞螺母和螺桿。盡可能選擇套筒扳手、梅花扳手、死角或六角扳手,最好不用活動扳手。
2)裝配前應檢查被裝配螺栓和螺母。被裝配螺紋件應符合圖樣要求,螺桿螺母無損傷。螺紋部分配合質量良好,在自由狀態下用手轉動靈活,螺桿部分無彎曲變形。
3)裝配方法方便可行。如雙頭螺柱用雙螺母或雙頭螺柱安裝工具裝入。
4)裝配中不宜隨便用加力桿。按規定預緊力預緊時,可用定力矩扳手或測力矩扳手控制。表 2-28 給出的基本直徑 8mm 至 48mm 的螺紋擰緊力矩。
5)成組螺栓連接裝配要是螺桿受力均勻,在擰緊時應采取對稱交錯擰緊的方法,如圖 2-2 所示。

圖 2-2 螺栓組的擰緊順序
| 基本直徑 | 擰緊力矩/N·m | 基本直徑 | 擰緊力矩/N·m | ||||||||||
| 強度極品 | 強度極品 | ||||||||||||
| 4.6 | 5.6 | 6.6 | 6.9 | 8.8 | 10.9 | 4.6 | 5.6 | 6.6 | 6.9 | 8.8 | 10.9 | ||
| M8 | 9.56 | 12.1 | 14.4 | 21.6 | 25.7 | 36.1 | M24 | 278 | 348 | 419 | 626 | 743 | 1044 |
| M10 | 19.0 | 23.9 | 28.4 | 42.9 | 50.7 | 71.5 | M27 | 334 | 452 | 541 | 814 | 964 | 1355 |
| M12 | 33.2 | 41.6 | 49.6 | 74.8 | 88.4 | 124.7 | M30 | 553 | 693 | 829 | 1246 | 1475 | 2087 |
| M14 | 52.9 | 66.1 | 79.6 | 119.4 | 140.5 | 198.1 | M36 | 967 | 1206 | 1446 | 2173 | 2575 | 3626 |
| M16 | 82.5 | 103.5 | 123.4 | 185 | 220 | 310 | M39 | 1284 | 1567 | 1872 | 2813 | 3333 | 4686 |
| M18 | 113 | 142 | 170 | 225 | 302 | 427 | M42 | 1547 | 1934 | 2313 | 3482 | 4116 | 5828 |
| M20 | 160 | 201 | 242 | 362 | 431 | 604 | M48 | 2314 | 2879 | 3480 | 5221 | 6153 | 8702 |
| M22 | 219 | 275 | 328 | 492 | 578 | 824 | |||||||
注:表中預緊力按螺栓預緊力 δ0≈0.7δa 確定的。
聯接件螺栓擰緊按 1—2—...—7—8—9—10 的順序。擰完后在從頭擰起,分兩至三次擰緊為止。
6)螺紋鏈接要采取防松措施,保證螺紋不松脫。螺紋防松就是防止螺紋副產生相對轉動。常用方法有如圖 2-3 所示幾種。

圖 2-3 螺紋聯接防松的幾種方法
a)雙螺母;b)彈簧墊片;c)六角槽型螺母配開口銷;d)串接鋼絲
①對頂螺母。將螺母按正常情況擰緊后,再在上面加一螺母對頂擰緊。上面的螺母可以選擇薄型螺母。為了防止裝錯,兩螺母也可取同樣的厚度。
②彈簧墊圈。該法應用極廣,多用于不重要的聯接。使用中應檢查彈簧墊圈是否具有足夠的彈力。一般要求在自由狀態下開口的相對位移量不小于墊圈厚度的一半。擰緊后墊圈應該被完全壓平。
③六角槽型螺母配開口銷。該防松形式防松可靠,用于變載、振動大和重要聯接的場合。
④鋼絲繩聯接。用低碳鋼絲穿入螺栓頭部專用孔后使其相互制約,防止可靠。但要注意鋼絲繩纏繞方向必須正確。
⑤鉚沖防松。用沖子沖壞螺紋副,這種方法防松可靠,但拆卸后零件不能再用,用于調整鎖緊后不再輕易拆卸的聯接。
⑥再旋合面上涂上厭氧性粘合劑。擰緊螺母后粘合劑硬化經粘結螺紋和螺母起到防松作用。常用粘合劑為 Y—150 厭氧膠。這種方法不宜用于高溫場合。
2-33 螺紋聯接如何拆卸?
答:螺紋聯接的拆卸有如下幾種情況:
1)雙頭螺柱拆卸。雙頭螺柱拆卸可以用雙螺母或專業工具拆卸。雙螺母法是擰入兩個螺母在螺栓的一端,相互擰緊,然后用扳手扳靠近被聯接件的螺母,按一般拆卸方法即可拆下。
2)斷頭螺釘的取出。擰斷了安裝在機座上的螺釘可以按下述方法取出殘存在螺紋孔中的部分。
如果斷頭螺釘有外露斷頭,可以在外露部分上用銼刀銼成方頭,然后用扳手擰出。也可在外露部分焊一螺母,然后擰出。
如果無外露斷頭時,采用下述方法:①在螺釘殘端打中心孔。注意對中要準確,若存在偏心,將會給取出作業增加困難。②鉆孔時鉆頭要選擇適當。避免有偏心時切入螺紋部分。③用左旋螺紋制成的取出器插入孔中,用軟錘輕輕敲擊取出器端部,逆時針方向轉動取出器即可取出螺釘。如果沒有取出器,可用反向絲錐攻反向螺紋,擰入反向螺柱,在連同斷頭螺釘一同拆出。
3)銹死螺釘的拆除。浸入煤油或柴油,靜置 20~30min。適當敲擊螺釘和被聯接件,振動銹層。然后先將螺釘向擰緊方向擰入 1/4 圈左右,在松動 1/2 圈,反復幾次即可擰出。
2-34 螺紋如何修理?
答:有些重要的貴重的零件上的螺紋出現損壞更換零件很不經濟時,應修復螺紋。
(1)修理時的注意事項
首先要辨別螺紋的種類,被修螺紋是英制螺紋還是米制螺紋。使用英制紋國家主要有英國、美國和加拿大。其余各國多用米制螺紋,但是管螺紋都是采用英制螺紋。
要分清螺距和牙形角,米制螺紋螺距用毫米表示,英制螺紋螺距用英寸時軸長度有多少扣牙表示。米制緊固螺紋壓形角 60°,管螺紋牙形角 55°,英制緊固螺紋牙形角為 60°。
測量螺紋采用游標卡尺測量螺紋外徑或螺紋內經,用螺紋規測量螺距和牙形角,定出螺紋的公稱尺寸和螺距大小。
(2)外螺紋的修復
1)選擇規格相同的扳牙,切除螺紋損壞處多余金屬。
2)在螺紋有局部損傷的情況下,可選擇與所修螺紋相匹配的螺紋銼刀、手工修復螺紋。注意一套螺紋銼刀有米制、英制兩種規格,一把螺紋銼刀上有 8 種不同螺紋尺寸。
3)當螺紋一端經錘擊而膨脹,可用三角銼刀修復,再用板牙套一次。
(3)內螺紋的修復
1)當螺紋部分損壞切磨損不嚴重時,可用絲錐擰過螺紋孔。
2)螺紋損壞嚴重時,在螺紋孔處重新鉆孔、攻螺紋、使螺紋直徑比原螺紋大,重新配置螺栓。
3)螺紋損壞嚴重時,可以鉆去原螺紋加螺紋鑲套(圖 2-4)。

圖 2-4 用螺紋鑲套修復內螺紋
2-35 壓力管道無泄漏檢驗標準的檢查方法有哪些?
答:壓力管道無泄漏檢驗標準見表 2-29。
| 序號 | 管道名稱 | 檢查方法 | 合格標準 |
| 1 | 所有管道,法蘭,閥門,絲堵,活接,補償器 | 用眼睛觀察 | 不結焦、不冒煙、無滲透、無漏痕、無結垢 |
| 2 | 瓦斯、氨、氯、液態烴等易燃易爆或有毒氣體 | 肥皂水試漏;精密試紙試漏 | 無氣泡、不變色 |
| 3 | 氧氣、氮氣、空氣系統 | 用 10mm 寬 100mm 長薄紙條試漏 | 無吹動現象 |
| 4 | 蒸汽系統 | 用肉眼觀察 | 不漏汽,無水垢 |
| 5 | 氫氣系統 | 高溫部位關燈檢查 | 無火苗;無吹動現象 |
| 低溫部位用 10mm 寬 100mm 長薄紙條試漏 | |||
| 6 | 酸、堿等物料系統 | 用肉眼觀察或用精密試紙試漏 | 無滲跡、無漏痕、不結垢、不冒煙、不變色 |
| 7 | 水玻璃、膠體系統 | 用肉眼觀察 | 無滲跡、無漏痕 |
2-36 氧氣站常用管子種類、材質有哪些?
答:氧氣站常用管子種類、材質見表 2-30。
| 序號 | 管子材質 | 管子種類 | 材料牌號 | 備注 |
| 1 | 碳素鋼管 | 低壓流體輸送用焊接鋼管[GB/T 3091-2001(2008)] | Q235A、Q235B | 焊接鋼管 |
| 輸送流體用無縫管[GB/T 8163-1999(2008)] | 10、20、Q295、Q345 | 無縫鋼管 | ||
| 2 | 不銹鋼管 | 流體輸送不銹鋼焊接鋼管[GB/T 12771-2008] | 1Cr18Ni9,0Cr18Ni9,00Cr19Ni10,0Cr18Ni9,0Cr23Ni13 | |
| 流體輸送不銹鋼無縫鋼管[GB/T 14976-2002] | 不銹鋼管 | |||
| 3 | 銅管 | 銅管(GB/T 1527-2006) | T2、T3、TU1、TU2、TP1、TP2 | 純銅管 |
| 黃銅管(GB/T 1527-2006) | H62 | |||
| 4 | 鋁管 | 鋁合金管 | 1035、1050A、1060、1060A |
2-37 氧氣管道常用法蘭及選用標準是什么?
答:氧氣管道常用法蘭及選用標準見表 2-31。
| 工作壓力 p/MPa | 法蘭形式 | 標準號 |
| 0.6≤p≤2.5 | 翻邊松套法蘭 | GB/T 9122—2000 |
| p≤2.5 | 鋼制平焊法蘭 | GB/T 9119—2000 |
| 平煤環松套法蘭 | GB/T 9121.1—2000 | |
| 2.5<p≤4.0 | 鋼制對焊法蘭 | GB/T 9115.1—2000 |
| 6.4<p≤15.0 | 鋼制對焊法蘭 | GB/T 9115.2—2000 |
| 高壓螺紋法蘭 |
2-28 氧氣管道法蘭用墊片選用是什么?
答:氧氣管道法蘭用墊片應無油脂,并應考慮墊片可能因受壓碎裂掉入管內,造成氧氣管道燃燒的條件,因此不能選用易燃材料制成的墊片。一般情況可按表 2-32 選用。
| 管道輸送介質 | 工作壓力 p/MPa | 工作溫度 t/℃ | 墊片材料 | 備注 |
| 氣態氧 | p≤0.25 | t≤200 | 石棉橡膠板 | |
| 0.25<p≤0.6 | t>﹣180 | 襯墊石棉板;金屬石棉纏繞墊 | ||
| 0.6<p≤2.5 | t<150 | 金屬包石棉繩墊(石棉繩加鉛粉) | 法蘭密封面采用榫槽時,可用 XB350 橡膠石棉板或 2 號硬鋼紙 | |
| 2.5<p≤6.4 | t<150 | 鋁片(退火)、銅片(退火) | 法蘭密封面采用透視鏡時,應采用剛或黃銅制的透鏡墊片 | |
| 6.4<p≤16.5 | t<150 | 銅片 | ||
| 液態氧 | p≤0.5 | t<﹣180 | 石棉橡膠板、襯墊石棉板 |
2-39 管道的涂色與標志有哪些規定?
答:(1)管道涂色與標志的規定
在工業企業中,廠房內及廠區經常需要安裝大量的輸送各類氣體和液體的管道,為了便于識別管內流體的種類和狀態以及有利于管道進行管理、維修、安全等方面考慮。通常采取以下三種方法進行管道的涂色與標志。
1)一般在不同流體的管道表面或管道絕熱層外表面,涂覆不同顏色的涂料,有時也可涂刷指向箭頭,標出介質的流向作為標識。
2)如果輸送流體的溫度或成分不同,需加以區別時,可以在已涂色的管道表面上,選擇一種溫度或成分涂刷色作為標識。
3)如果以上兩種方法仍然不能確定管內流體的性質或參數時,可采取在管道外表面涂刷流體的名稱或化學符號,也可標出流體的溫度和壓力作為標識。
由于管道的工程的內容不一,管道內流體流動的介質種類較多,所以管道的涂色和標識應根據具體工程情況進行使用,以易于操作、方便管理及維修為原則。因此,各系統的規定不統一,工程中設計有規定時應按設計規定涂色,設計無規定時,可按表 2-33 所列使用。
(2)色環及識別符號的涂裝要求
1)色環的間距應分布均勻,便于觀察,一般在直管段上其間距以 5m 左右為宜。色環的寬度可按管徑大小來確定,外徑(包括絕熱層)在 150mm 以內,色環寬度為 70mm;外徑在 300mm 以上者,色環寬度為 100mm。
2)色環、流體名稱或化學符號和箭頭應涂刷在管道交叉點,閥門和穿孔兩側的管道上,以及需要觀察識別的部位。
3)輸送的流體如果是雙向流動的,應標出兩個相反方向的箭頭。箭頭一般涂成白色或黃色,底色淺者則涂成深色箭頭。
4)當識別符號直接涂刷在外徑小于 90mm 的管道上且不易識別時,可在所有需要識別的部位掛一標牌,標牌一般做成 250mm×150mm 的矩形。標牌上應標明流體名稱,標出介質流向。
| 序號 | 管道名稱 | 顏色 | 備注 | |||
| 底色 | 色環 | |||||
| 1 | 過熱蒸汽管 | 紅 | 黃 | |||
| 2 | 飽和蒸汽管 | 紅 | — | |||
| 3 | 廢氣管 | 紅 | 綠 | |||
| 4 | 凝結水管 | 綠 | 紅 | 自流 | ||
| 5 | 熱水供水管 | 綠 | 黃 | |||
| 6 | 熱水回水管 | 綠 | 褐 | |||
| 7 | 制冷系統管道 | 氨管道 | 吸入管 | 藍 | — | |
| 液體管 | 黃 | — | ||||
| 壓出管 | 紅 | — | ||||
| 油管 | 淡黃 | — | ||||
| 空氣管 | 白 | — | ||||
| 安全管 | 棕色 | — | ||||
| 鹽水管道 | 壓出管 | 綠 | — | |||
| 回流管 | 褐 | — | ||||
| 水管道 | 壓出管 | 淺藍 | — | |||
| 回流管 | 紫 | — | ||||
| 8 | 疏水管 | 綠 | 黑 | |||
| 9 | 工業用水管 | 黑 | — | |||
| 10 | 工業和消防合用水管 | 黑 | 橙黃 | |||
| 11 | 生活飲用水管 | 藍 | — | |||
| 12 | 消防水管 | 橙黃 | — | |||
| 13 | 中水管 | 淺綠 | — | |||
| 14 | 雨水管 | 黑 | 綠 | |||
| 15 | 排水管 | 綠 | 藍 | |||
| 16 | 油管 | 橙黃 | — | |||
| 17 | 高熱值煤氣管 | 黃 | — | |||
| 18 | 低熱值煤氣管 | 黃 | 褐 | |||
| 19 | 液化石油氣管 | 黃 | 綠 | |||
| 20 | 壓縮空氣管 | 淺藍 | — | |||
| 21 | 凈化壓縮空氣管 | 淺藍 | 黃 | |||
| 22 | 乙炔管 | 白 | — | |||
| 23 | 氧氣管 | 藍 | — | |||
| 24 | 氫氣管 | 白 | 紅 | |||
| 25 | 氮氣管 | 棕 | — | |||
| 26 | 油管 | 橙黃 | — | |||
| 27 | 排氣管 | 紅 | 黑 | |||
| 28 | 軟化(被給)水管 | 綠 | 白 | |||
| 29 | 鹽水管 | 淺黃 | — | |||
2-40 機械行業動力管道油漆色標有什么要求?
答:機械行業動力管道油漆色標應按照 2-34 規定涂色,管道的色環寬度及間距應安表 2-35 規定涂刷,管道示意圖上的管道顏色與此一致。
| 管道名稱 | 顏色 | 管道名稱 | 顏色 | 管道名稱 | 顏色 | |||||
| 基本色 | 色環 | 基本色 | 色環 | 基本色 | 色環 | |||||
| 過熱蒸汽管 | 紅 | 黃 | 雨水管 | 綠 | — | 制冷系統裝置 | 氨管道 | 吸入器 | 藍 | — |
| 飽和蒸汽管 | 紅 | 油管 | 黃 | — | 液體管 | 黃 | — | |||
| 壓縮蒸汽管 | 淺藍 | — | 乙炔管 | 白 | — | 壓出管 | 紅 | — | ||
| 凝結水管 | 綠 | 紅 | 氧氣管 | 深藍 | — | 油管 | 淡黃 | — | ||
| 熱水供水管 | 綠 | 黃 | 天然氣管 | 黃 | 黑 | 空氣管 | 白 | — | ||
| 熱水回水管 | 綠 | 褐 | 高熱值煤氣管 | 黃 | — | 鹽水管道 | 壓出管 | 綠 | — | |
| 工業用水管 | 黑 | — | 低熱值煤氣管 | 黃 | 褐 | 回流管 | 褐 | — | ||
| 工業用水管(和消防用水合用管道) | 黑 | 橙黃 | 氫氣管 | 白 | 紅 | 水管道 | 壓出管 | 淺藍 | — | |
| 生活飲用水管 | 藍 | — | 液化石油氣管 | 綠 | 綠 | 壓出管回流管 | 紫 | — | ||
| 消防用水管 | 橙黃 | — | — | |||||||
注:1.在管道交叉處、閥門操作管道彎頭處等,應在管道上標示介質流動方向箭頭。
2.設備涂色一般可采用:暖氣片、暖風機登用銀白色;壓縮空氣儲氣罐用灰色;離子交換器用綠色或者灰色;加熱器、熱交換器等用紅色;水箱用綠色。
3.考慮到企業現況,對室外的蒸汽管道(已采取保溫措施)和煤氣管道,管道交叉處,管道彎頭處及閥門兩處的管道,均能明顯涂刷管長度 2m 的面色;在直管道上,每隔 50m 要明顯涂刷長度 2m 的面色。
| 管道保溫層外徑 | 色環寬度 | 色環間距 |
| <150 | 50 | 5~10 |
| 150~300 | 70 | 10~20 |
| >300 | 100 | 20~40 |
石油、化工等行業由于工藝生產特殊性、故專門制定行業工業管道的涂色規定和要求,請參照有關規定執行。
2-41 什么是閥?閥門有哪些分類方法?
答:閥是控制流體(氣體或液體)通過管道以減低他們的壓力或改變流路方向的任何一種裝置,例如截止閥、減壓閥、安全閥等。
閥門分類方法:機電產品總和分類如下:


注:后有“等”者項目多未列出。
機電產品按結構分類如下:

機電產品按特征分類如下:

還有按材料分類、按壓力分類、按工作溫度分類等其他分類方法。
機電產品按用途分類如下:

2-42 工業企業常用的閥門有哪些?
答:工業企業常用的閥門(各工業企業中各管道上普遍采用的閥門情況)如下:
啟閉用的閥門:閘閥、球閥、蝶閥、截止閥、旋轉閥,用來啟閉管路用的閥門,稱此類閥門為閉路閥門。
調節用的閥門:減壓閥、節流閥,用于調節管內的介質壓力和流量。
止回用的閥門:止回閥,用于防止介質倒流的閥門。
分配用的閥門:三通旋閥門,用于改變管路的介質流動方向和分配介質用。
疏水隔氣用的閥門:疏水閥,用于排除凝結水、防止蒸汽跑漏。
安全用閥門:安全閥(溢流閥),用于超壓安全保護,排放多余介質,防止壓力超過規定值。
2-43 閥門型號編制方法和閥門標志發展如何?
答:閥門型號通常應表示出閥門類型、驅動方式、連接形式、結構特點、密封面材料、閥體材料和公稱壓力等要素。閥門型號的標準化對閥門的設計、選用、經銷和施工管理提供了方便。
科學技術的日新月異,表現在閥門技術領域,使得閥門的類型和材料越來越多,閥門的型號編制也越來越復雜。我國雖有閥門型號編制的統一標準,但越來越不能適應閥門工藝發展的需要。目前,閥門制造廠一般都采用統一的編號方法:凡不能采用統一編號方法的,各閥門生產廠家均按自己的需要制定出編號方法。
2-44 閥門型號是如何表示的?
答:閥門型號由七個單元組成,各個單元的表示方法及含義見表 2-36。
![]() |
第一單元 | 第二單元 | 第三單元 | 第四單元 | 第五單元 | 第六單元 | 第七單元 |
| 表示方法 | 大寫漢語拼音字母 | 阿拉伯數字 | 阿拉伯數字 | 阿拉伯數字 | 大寫漢語拼音字母 | 阿拉伯數字 | 大寫漢語拼音字母 |
| 表示意義 | 閥門類型 | 驅動方式 | 連接方式 | 結構形式 | 密封圈或襯里材料 | 公稱壓力 | 閥體材料 |
2-45 閥門類型代號是什么?
答:閥門類型代號用大寫漢語拼音字母表示,見表2-37。
| 閥門類型 | 代號 | 閥門類型 | 代號 | 閥門類型 | 代號 | 閥門類型 | 代號 |
| 閘閥 | Z | 球閥 | Q | 節流閥 | L | 疏水閥 | S |
| 截止閥 | J | 止回閥 | H | 排污閥 | P | ||
| 蝶閥 | D | 隔膜閥 | G | 安全閥 | A | ||
| 旋轉閥 | X | 柱塞閥 | U | 減壓閥 | Y |
注:低溫(低于 ﹣40℃)、保溫(帶加熱套)和帶波紋管的閥門,抗硫的的閥門,在類別代號前分別加漢語評語字母 D、B、W 和 K。
2-46 閥門的驅動代號是什么?
答:閥門的驅動代號見表 2-38 所示。
| 電動方式 | 代號 | 電動方式 | 代號 | 電動方式 | 代號 | 電動方式 | 代號 |
| 電磁動 | 0 | 渦輪 | 3 | 氣動 | 6 | 電動 | 9 |
| 電磁—液動 | 1 | 正齒輪 | 4 | 液動 | 7 | ||
| 電—液動 | 2 | 傘齒輪 | 5 | 氣—液動 | 8 |
注:1.手輪、手柄和扳手傳動的,以及安全閥、減壓閥、蒸汽輸水管等,本單元代號可省略。
2.對于氣動或液動,常開式用 6k,7k表示,常閉式用 6B,7B;氣動帶手動,用 6S 表示;防爆電動用 9B 表示;螺桿 -T 型螺母,用 3T 表示。
3.代號 2 及代號 8 是用在閥門啟閉時需要由兩種動力源同時對閥門進行動作的執行機構。
2-47 閥門的連接形式代號是什么?
答:閥門的聯接形式代號見表 2-39。
| 連接形式 | 代號 | 連接形式 | 代號 | 連接形式 | 代號 |
| 內螺紋 | 1 | 法蘭 | 4 | 卡箍 | 8 |
| 外螺紋 | 2 | 焊接 | 6 | 卡套 | 9 |
| 兩不同連接 | 3 | 對夾 | 7 |
注:焊接包括承插焊和對接焊。
2-48 閥門的結構形式代號是什么?
答:閥門的結構代號用阿拉伯數字表示。閘閥的結構形式代號見表 2-40;截止閥、節流閥和柱塞閥的結構形式代號見表 2-41;蝶閥的結構形式代號見表 2-42;旋塞閥的結構形式代號見表 2-43;球閥的結構形式代號見表 2-44;止回閥的結構形式代號見表 2-45;隔膜閥的結構形式代號見表 2-46;安全閥的結構形式代號見表 2-47;減壓閥的結構形式代號見表 2-48;疏水閥的結構形式代號見表 2-49;排污閥的結構形式代號見表 2-50。
| 閘閥結構 | 代號 | |||
| 明桿 | 契約 | 彈性閘板 | 0 | |
| 剛性 | 單閘板 | 1 | ||
| 雙閘板 | 2 | |||
| 平行式 | 單閘板 | 3 | ||
| 雙閘板 | 4 | |||
| 暗桿 | 契約 | 單閘板 | 5 | |
| 雙閘板 | 6 | |||
| 平行式 | 單閘板 | 7 | ||
| 雙閘板 | 8 | |||
| 截止閥、節流閥和柱塞閥的結構形式代號 | 代號 | 截止閥、節流閥和柱塞閥的結構形式代號 | 代號 | |
| 直通式 | 1 | 直流式(Y 形) | 5 | |
| Z 形直通式 | 2 | 平衡 | 直通式 | 6 |
| 三角式 | 3 |
角式 |
7 | |
| 角式 | 4 | 針形截止閥 | 8 | |
| 蝶閥結構形式 | 代號 | 蝶閥結構形式 | 代號 | ||
| 密封性 | 中線式 | 1 | 非密封封 | 中線式 | 5 |
| 單偏心 | 2 | 單偏心 | 6 | ||
| 雙偏心 | 3 | 雙偏心 | 7 | ||
| 連桿偏心 | 4 | 連桿偏心 | 8 | ||
| 旋塞閥結構形式 | 代號 | 旋塞閥結構形式 | 代號 | ||
| 填料密封 | L 形 | 2 | 油封密封 | L 形 | 6 |
| 直通形 | 3 | 直通形 | 7 | ||
| T 形三通 | 4 | T 形三通 | 8 | ||
| 四通 | 5 | 靜配 | 直通形 | 9 | |
| T 形三通 | 0 | ||||
| 球閥結構形式 | 代號 | 球閥結構形式 | 代號 | ||||
| 浮動球 | 直通式 | 1 | 固定球 | 直通式 | 7 | ||
| Y 形 | 三通式 | 2 | 四通 | 6 | |||
| L 形 | 3 | T 形 | 三通 | 8 | |||
| T 形 | 4 | L 形 | 9 | ||||
| 半球直通 | 0 | ||||||
| 球閥結構形式 | 代號 | 球閥結構形式 | 代號 | ||||
| 浮動球 | 直通式 | 1 | 固定球 | 直通式 | 7 | ||
| Y 形 | 三通式 | 2 | 四通 | 6 | |||
| L 形 | 3 | T 形 | 三通 | 8 | |||
| T 形 | 4 | L 形 | 9 | ||||
| 半球直通 | 0 | ||||||
| 球閥結構形式 | 代號 | 球閥結構形式 | 代號 | ||||
| 浮動球 | 直通式 | 1 | 固定球 | 直通式 | 7 | ||
| Y 形 | 三通式 | 2 | 四通 | 6 | |||
| L 形 | 3 | T 形 | 三通 | 8 | |||
| T 形 | 4 | L 形 | 9 | ||||
| 半球直通 | 0 | ||||||
| 球閥結構形式 | 代號 | 球閥結構形式 | 代號 | ||||
| 浮動球 | 直通式 | 1 | 固定球 | 直通式 | 7 | ||
| Y 形 | 三通式 | 2 | 四通 | 6 | |||
| L 形 | 3 | T 形 | 三通 | 8 | |||
| T 形 | 4 | L 形 | 9 | ||||
| 半球直通 | 0 | ||||||
| 球閥結構形式 | 代號 | 球閥結構形式 | 代號 | ||||
| 浮動球 | 直通式 | 1 | 固定球 | 直通式 | 7 | ||
| Y 形 | 三通式 | 2 | 四通 | 6 | |||
| L 形 | 3 | T 形 | 三通 | 8 | |||
| T 形 | 4 | L 形 | 9 | ||||
| 半球直通 | 0 | ||||||
| 止回閥的結構形式 | 代號 | 止回閥的結構形式 | 代號 | 止回閥的結構形式 | 代號 | ||
| 升降式 | 直通式 | 1 | 旋啟式 | 單瓣式 | 4 | 回轉蝶形止回式 | 7 |
| 立式 | 2 | 多瓣式 | 5 | 截止止回式 | 8 | ||
| 角式 | 3 | 雙瓣式 | 6 | ||||
| 隔膜閥的結構形式 | 代號 | 隔膜閥的結構形式 | 代號 | 隔膜閥的結構形式 | 代號 |
| 屋脊式 | 1 | 直通式 | 6 | 角式 T 形 | 9 |
| 截止式 | 3 | 閘板式 | 7 | ||
| 直流板式 | 5 | 角式 Y 形 | 8 |
| 安全閥的結構形式 | 代號 | |||
| 彈簧 | 封閉 | 帶散熱片 | 全啟式 | 0 |
| 微啟式 | 1 | |||
| 全啟式 | 2 | |||
| 帶扳手 | 全啟式 | 4 | ||
| 不封閉 | 雙彈簧微啟式 | 3 | ||
| 微啟式 | 7 | |||
| 全啟式 | 8 | |||
| 帶控制機構 | 全啟式 | 6 | ||
| 脈沖式 | 9 | |||
| 杠桿式 | 5 | |||
| 減壓閥的結構形式 | 代號 | 減壓閥的結構形式 | 代號 | 減壓閥的結構形式 | 代號 |
| 直接作用波紋管式 | 1 | 先導活塞式 | 3 | 先導薄膜式 | 5 |
| 直接作用薄膜式 | 2 | 先導波紋管式 | 4 |
| 疏水閥的結構形式 | 代號 | 疏水閥的結構形式 | 代號 | 疏水閥的結構形式 | 代號 |
| 浮球式 | 1 | 液體或固體膨脹式 | 4 | 雙金屬片或彈性式 | 7 |
| 迷宮或孔扳式 | 2 | 鐘形浮子式 | 5 | 脈沖式 | 8 |
| 浮桶式 | 3 | 蒸汽壓力式 | 6 | 圓盤式 | 9 |
| 排污閥的結構形式 | 代號 | 排污閥的結構形式 | 代號 | ||
| 液面連接 | 截止型直通式 | 1 | 液底間斷 | 截止型直通式 | 6 |
| 截止型角式 | 2 | 截止型角式 | 7 | ||
| 液底間斷 | 截止型直流式 | 5 | 浮動閘板型直通式 | 8 | |
2-49 閥座密封面或襯里材料代號是什么?
答:閥座密封面或襯里材料代號用大寫漢語拼音字母表示,見表 2-51。
| 閥座密封面或襯里材料代號 | 代號 | 閥座密封面或襯里材料代號 | 代號 |
| 錫基軸承合金(巴氏合金) | B | 尼龍塑料 | N |
| 搪瓷 | C | 滲硼鋼 | P |
| 滲氮鋼 | D | 襯鉛 | Q |
| 1.8-8 系不銹鋼 | E | Mo2Ti 系不銹鋼 | R |
| 氟塑料 | F | 塑料 | S |
| 玻璃 | G | 銅合金 | T |
| Cr13 系不銹鋼 | H | 橡膠 | X |
| 襯膠 | J | 硬質合金 | Y |
| 蒙乃爾合金 | M |
注:1.由閥體直接加工的閥座密封面材料代號用 W 表示。
2.當密封副的密封面材料不同時,以硬度低的材料代號表示。
2-50 閥體材料代號是什么?
答:閥體材料代號用大寫漢語拼音字母表示,見表 2-52。如果是公稱壓力 PN≥2.5MPa 的鋼碳閥門,則本單元省略了。
| 閥體材料 | 代號 | 閥體材料 | 代號 |
| 鈦及鈦合金 | A | 球墨鑄鐵 | Q |
| 碳鋼 | C | Mo2Ti 系不銹鋼 | R |
| Cr13 系不銹鋼 | H | 塑料 | S |
| 鉻鉬鋼 | I | 銅和銅合金 | T |
| 可鍛造鐵 | K | 鉻鋁釩鋼 | V |
| 鋁合金 | L | 灰鑄鐵 | Z |
| 1.8-8 系不銹鋼 | P |
2-51 閥門的命名有哪些規定?
答:(1)閥門命名
閥門的名稱按傳動方式、連接形式、結構形式、襯里材料和類型命名,但下述內容在命名中均予省略:
1)連接形式中的“法蘭”。
2)結構形式中:①閘閥的“明桿”、“彈性”、“剛性”和“單閘板”;②截止閥和節流閥的“直通式”;③球閥的“浮動”和“直通式”;④蝶閥的“垂直板式”;⑤隔膜閥的“屋脊式”;⑥旋塞閥的“填料”和“直通式”;⑦止回閥的“直通式”和“單瓣式”;⑧安全閥的“不封閉”。
3)閥座密封面材料中的材料名稱。
(2)閥門型號和名稱編制方法示例
例 2-1 閥門類型為閘閥,采用電驅動、法蘭連接、明桿楔式雙閘板,閥座密封面材料由閥體直接加,閥門的公稱壓力為 PN=0.1MPa,閥體材料為灰鑄鐵,表示為:
Z942W—1 命名為:電動楔式雙閘板閘閥。
例 2-2 閥門類型為球閥、手動、外螺紋聯接、浮動直通式、閥座密封面材料為氟塑料,閥門的公稱壓力為 PN=4.0MPa。閥體材料為 1Cr18Ni9Ti,表示為:
Q21F—40P 命名為:外螺紋球閥。
例 2-3 閥門類型為隔膜閥,氣動常開式、法蘭連接、屋脊式,襯里材料為襯膠、閥門的公稱壓力與 PN=0.6MPa,閥體材料為灰鑄鐵,表示為:
G6K41J-6 命名為:氣動常開式襯膠隔膜閥。
例 2-4 閥門類型為蝶閥、液動、法蘭連接、垂直板式、(密封面材料為鑄銅)閥瓣密封面材料為橡膠,公稱壓力為 PN=0.25MPa,閥體材料為灰鑄鐵,表示為:
D741X-2.5 命名為:液動蝶閥。
例 2-5 閥門類型為截止閥、電動、焊接連接、直通式、閥座密封面材料為堆焊硬質合金,在 540℃ 下的工作壓力為 17MPa,閥體材料與鉻鉬礬合金鋼,表示為:
J961Y-P34170V 命名為:電動合金截止閥。
例 2-6 閥門類型為止回閥、法蘭連接、旋啟雙瓣式、閥座密封面材料為銅合金、公稱壓力為 PN=1.0MPa,閥體材料為灰鑄鐵,表示為:
H46T-10 命名為:雙瓣旋啟式止回閥。
(3)閥門標志
通向閥門必須使用和可選擇的標志項目見表 2-53。對于手動閥門,如果首輪尺寸足夠大,則手輪上應設有指示閥門關閉方向的箭頭或附加“關”字。
| 項目 | 標志 | 項目 | 標志 |
| 1 | 公稱直徑(DN) | 11 | 標準號 |
| 2 | 公稱壓力(PN) | 12 | 熔煉爐號 |
| 3 | 受壓部件材料代號 | 13 | 內件材料代號 |
| 4 | 制造廠名或商標 | 14 | 工位號 |
| 5 | 介質流向的箭頭 | 15 | 襯里材料代號 |
| 6 | 密封環(墊)代號 | 16 | 質量和檢驗標記 |
| 7 | 極限溫度(℃) | 17 | 檢驗人員印記 |
| 8 | 螺紋代號 | 18 | 制造年、月 |
| 9 | 極限壓力 | 19 | 流動特性 |
| 10 | 生產廠編號 |
通用閥門的具體標志規定如下:
1)表 2-53 中的 1~4 項是必須使用的標志,對于 DN≥50mm 的閥門,應標記在閥體上,對于 DN<50mm 的閥門。標記在閥體上還是標牌上,由產品設計者規定。
2)表 2-53 中的第 5 項和第 6 項只有當某類閥門標準中有此規定時才是必須使用的標志,它們應分別標記在閥體及法蘭上。
3)如果各類閥門標準中沒有特殊規定,則表 2-53 中 7~19 項是按需要選擇的標志。當需要時,可標記在閥體或標牌上。
對于減壓閥、在閥體上的標志除按表 2-53 的規定外,還應有出廠日期、適用介質、出口壓力等。
4)蒸汽疏水閥的標志按表 2-54 的規定,標志可設在閥體上,也可標在標牌上。
5)安全閥的標志按表 2-55 的規定,標志標在標牌上。
| 項目 | 必須使用的標志 | 項目 | 必須使用的標志 |
| 1 | 產品型號 | 1 | 閥體材料 |
| 2 | 公稱直徑 DN | 2 | 最高允許壓力 |
| 3 | 公稱壓力 PN | 3 | 最高允許溫度 |
| 4 | 制造名稱和商標 | 4 | 最高排水溫度 |
| 5 | 介質流動方向的指示箭頭 | 5 | 出廠編號、日期 |
| 6 | 最高工作壓力 | — | — |
| 7 | 最高工作溫度 | — | — |
| 項目 | 閥體上的標志 | 項目 | 標牌上的標志 |
| 1 | 公稱直徑 DN | 1 | 閥門設計的允許最高的工作溫度(℃) |
| 2 | 閥體材料 | 2 | 整定壓力(MPa) |
| 3 | 制造廠名稱或商標 | 3 | 依據的標準號 |
| 4 | 當進口于出口連接部分的尺寸或壓力級相同時,應有指明介質流動方向的箭頭 | 4 | 制造廠的基準型號 |
| 5 | 額定排量系數或對于基準介質的額定排量 | ||
| 6 | 流道面積(mm²) | ||
| 7 | 開啟高度(mm) | ||
| 8 | 超過壓力百分數 |
2-52 什么是閘閥?閘閥的特點是什么?
答:閘閥又稱閘板閥,啟閉件為閘板,由閥桿帶動閥板做升降運動的閥門稱為閘閥。
閘閥的特點為:
1)閘閥的優點:流體流動阻力小;啟閉所需力矩小;介質流向不受限制;啟閉無水擊現象;形體結構不叫簡單,制造工藝性較好。
2)閘閥的特點:外形尺寸和安裝高度較大,所需的安裝空間亦較大;在啟閉過程中,密封面有相對摩擦,磨損較大,甚至高溫式容易引起擦傷現象;閘閥一般都有兩個密封面,給加工、研磨和維修增加了一些困難。
閘閥應用范圍廣泛。通常用于公稱直徑 DN≥50mm 的給水管路。
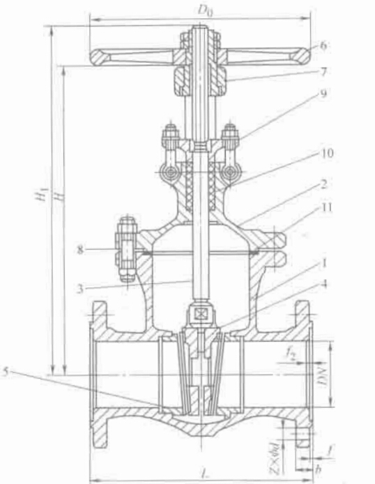
2-53 閘閥如何分類?閘閥型號及參數有哪些?
答:閘閥按連接方式分螺紋閘法蘭閘閥和焊接閘閥,按結構特征分平行式閘板和楔式閘板,按閥門閥桿結構分明桿(升降桿)閘閥和暗桿(旋轉桿)閘閥。
1)明桿平行式雙閘板閘閥:明桿平行式雙閘板閘閥如圖 2-5 所示,它的閘板式由兩塊對稱平行放置的兩圓盤組成,當閘板下降時靠至于閘板下部的頂楔使兩閘板向外擴張緊壓在閥座上,使閥門關嚴。當閘板上升時,楔塊就被圓盤上的凸塊托起,并隨閘板一起上升。該型閥門結構簡單,密封面的加工、研磨、檢修都比楔式閘閥簡便,但密封性較差,適用于壓力不超過 1.0MPa,溫度不超過 200℃ 的介質。
;

圖 2-5 明桿平行式雙閘板閘閥
1-閥體;2-閥蓋;3-閥桿;4-閥桿螺母;5-閘板;6-首輪;7-填料壓蓋;8-填料;9-頂楔;10-墊片;11-密封圈;
2)暗桿楔式閘板閘閥:圖 2-6 所示為楔式閘板閥門,該閥的密封面是傾斜的,并形成一個夾角,介質溫度越高,夾角越大。楔式閘板分單閘板、雙閘板、彈性閘板,分別如圖 2-6a、b、c 所示。

圖 2-6 暗桿楔式閘板閘閥
a-楔形單閘板;b-楔形雙閘板;c-楔形彈性閘板
1-閥體;2-閥蓋;3-閥桿;4-閥桿螺母;5-閘板;6-手輪;7-壓蓋;8-填料;9-填料箱;10-墊片;11-指示器;12、13-密封圈
彈性閘板如圖 2-7 所示,它具有結構簡單、使用可靠等優點,又能產生微小的彈性變形,增加了關閉的嚴密性。

圖 2-7 彈性閘板閘閥
1-閥體;2-閥蓋;3-閥桿;4-閥板;5-密封圈;6-手輪;7-閥桿螺母;8-聯接螺栓;9-填料壓蓋;10-填料;11-墊片
明桿閘閥中,閥桿的螺紋與附有首輪的套簡螺母相配合,閥桿的下端有方頭,嵌于閘板中,旋轉手輪時,閥桿和閘板作上下的升降運動。開啟時,閥桿伸出手輪,優點是從閥桿的外伸長度能判斷從閥門的開啟程度,閥桿不直接與輸送介質接觸;缺點是閥門開啟高度達,安裝場所必須有閥桿外伸的足夠空間。現場安裝時,一定要注意著一點。暗桿閘閥的閥桿外螺紋與嵌在閥門內的內螺紋相配合,故旋轉手輪時,閥桿作旋轉運動,使得閥門內的閘板做升降運動,而閥桿不能上下升降。暗桿閘閥安裝占據空間小,輸送介質與閥桿直接接觸,不能通過閥桿來判斷閥門的開啟程度。不管是明桿閘閥還是暗桿閘閥,閘閥安裝均需水平安裝。閥桿垂直向上,不應傾斜,嚴禁閥桿朝下安裝。
常用閘閥型號及參數見表 2-56。
| 名稱 | 型號 | 公稱壓力 PN/MPa | 適用介質 | 適用溫度/℃≤ | 公稱直徑 DN/mm |
| 楔式雙閘板閘閥 | Z42W-1 | 0.1 | 煤氣 | 100 | 300~500 |
| 傘齒輪傳動楔式雙閘板閘閥 | Z542W-1 | 600~1000 | |||
| 電動楔式雙閘板閘閥 | Z942W-1 | 600~1400 | |||
| 電動暗桿楔式雙閘板閘閥 | Z946T-2.5 | 0.25 | 水 | 1600~1800 | |
| 電動暗桿楔式閘閥 | Z945T-6 | 0.6 | 1200~1400 | ||
| 楔式閘閥 | Z41T-10 | 1.0 | 蒸汽、水 | 200 | 50~450 |
| 楔式閘閥 | Z41W-10 | 油品 | 100 | 50~450 | |
| 電瓶楔式閘閥 | Z941T-10 | 蒸汽、水 | 200 | 100~450 | |
| 平行式雙閘板閘閥 | Z44T-10 | 50~400 | |||
| 平行式雙閘板閘閥 | Z44W-10 | 油品 | 100 | 50~400 | |
| 液動楔式閘閥 | Z741T-10 | 水 | 100~600 | ||
| 電動平行式雙閘板閘閥 | Z944T-10 | 蒸汽、水 | 200 | 100~400 | |
| 電動平行式雙閘板閘閥 | Z944W-10 | 油品 | 100 | 100~400 | |
| 暗桿楔式閘閥 | Z45T-10 | 水 | 50~700 | ||
| 暗桿楔式閘閥 | Z45W-10 | 油品 | 50~450 | ||
| 正齒輪傳動暗桿楔式閘閥 | Z445T-10 | 水 | 80~1000 | ||
| 電動暗桿楔式閘閥 | Z945T-10 | 水 | 100~1000 | ||
| 電動暗桿楔式閘閥 | Z945T-10 | 油品 | 100~450 | ||
| 楔式閘閥 | Z40H-16C | 1.6 | 油品蒸汽水 | 350 | 200~400 |
| 電動楔式閘閥 | Z940H-16C | 200~400 | |||
| 氣動楔式閘閥 | Z640H-16C | 200~500 | |||
| 楔式閘閥 | Z40H-16Q | 65~200 | |||
| 電動楔式閘閥 | Z940H-16Q | 65~200 | |||
| 楔式閘閥 | Z40W-16P | 硝酸類 | 100 | 200~300 | |
| 楔式閘閥 | Z40M-16R | 醋酸類 | 200~300 | ||
| 楔式閘閥 | Z40Y-16I | 油品 | 550 | 200~400 | |
| 楔式閘閥 | Z40H-25 | 2.5 | 油品蒸汽、水 | 350 | 50~400 |
| 電動楔式閘閥 | Z940H-25 | 50~400 | |||
| 氣動楔式閘閥 | Z640H-25 | 50~400 | |||
| 楔式閘閥 | Z40H-25Q | 50~200 | |||
| 電動楔式閘閥 | Z940H-25Q | 50~200 | |||
| 傘齒輪傳動楔式雙閘板閘閥 | Z542H-25 | 蒸汽水 | 300 | 300~500 | |
| 電動楔式雙閘板閘閥 | Z942H-25 | 300~800 | |||
| 承插焊楔式閘閥 | Z61Y-40 | 4.0 | 油品蒸汽水 | 425 | 15~40 |
| 楔式閘閥 | Z41H-40 | 15~40 | |||
| 楔式閘閥 | Z40H-40 | 50~250 | |||
| 正齒輪傳動楔式閘閥 | Z440H-40 | 300~400 | |||
| 電動楔式閘閥 | Z940H-40 | 50~400 | |||
| 氣動楔式閘閥 | Z640H-40 | 50~400 | |||
| 楔式閘閥 | Z40H-40Q | 350 | 50~200 | ||
| 電動楔式閘閥 | Z940H-40Q | 50~200 | |||
| 楔式閘閥 | Z40Y-40P | 硝酸類 | 100 | 200~250 | |
| 正齒輪傳動楔式閘閥 | Z440Y-40P | 300~500 | |||
| 楔式閘閥 | Z40Y-40I | 油品 | 550 | 50~250 | |
| 楔式閘閥 | Z40H-64 | 6.4 | 油品蒸汽水 | 425 | 50~250 |
| 正齒輪傳動楔式閘閥 | Z44H-64 | 300~400 | |||
| 電動楔式閘閥 | Z940H-64 | 50~800 | |||
| 電動楔式閘閥 | Z940Y-64I | 6.4 | 油品 | 550 | 300~500 |
| 楔式閘閥 | Z40Y-64I | 50~250 | |||
| 楔式閘閥 | Z40Y-100 | 10.0 | 油品蒸汽水 | 450 | 50~200 |
| 正齒輪傳動楔式閘閥 | Z440Y-100 | 250~300 | |||
| 電動楔式閘閥 | Z940Y-100 | 50~300 | |||
| 承插焊楔式閘閥 | Z61Y-160 | 16.0 | 油品 | 15~40 | |
| 楔式閘閥 | Z41H-160 | 15~40 | |||
| 楔式閘閥 | Z40Y-160 | 50~200 | |||
| 電動楔式閘閥 | Z940Y-160 | 50~300 | |||
| 楔式閘閥 | Z40Y-160I | 550 | 50~200 | ||
| 電動楔式閘閥 | Z940-160I | 50~200 |
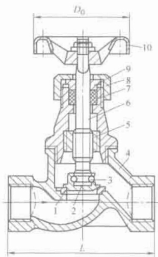
2-54 什么是截止閥?截止閥的特點是什么?
答:啟閉件為閥瓣,由閥桿帶動,沿閥座(密封面)軸線做升降運動的閥門,稱為截止閥。
截止閥的特點:截止閥具有結構簡單、安裝尺寸小、密封性能好、密封面檢修方便等特點;缺點是介質流動阻力大,常用于 DN≤200mm 的管路上。
2-55 截止閥有哪些應用?截止閥如何安裝?
截止閥的應用:截止閥是最常用的閥門之一,可廣泛用于各種參數的蒸汽、水、空氣、氨、氧氣、油品以及腐蝕性介質的管路上。由于截止閥大量應用于蒸汽管路,所以截止閥有“汽閥”、“汽門”之稱。
截止閥的安裝:截止閥安裝有方向性,一般閥門上都標有箭頭、箭頭方向代表介質流動的方向。若無標注,則應按“低進高出”的原則進行安裝。截止閥宜水平安裝,閥桿朝上,閥桿不得朝下安裝。
2-56 截止閥如何分類?截止閥型號和參數有哪些?
答:1)截止閥的分類是:
1)按連接方式分:截止閥按連接方式的不同可分為螺旋紋截止閥(圖 2-8)、法蘭截止閥(圖 2-9)、卡套截止閥。

圖 2-8
1-閥座;2-閥盤;3-鐵絲圈;4-閥體;5-閥蓋;6-閥桿;7-填料;8-填料壓蓋螺母;9-填料壓蓋;10-手輪

圖 2-9
2)按結構形式分:截止閥按結構形式可分為上螺紋閥桿截止閥、下螺紋閥桿截止閥、直通式截止閥、角式截止閥、直流式截止閥、柱塞式截止閥、針形截止閥、內壓自封式閥蓋截止閥和螺紋焊接閥蓋截止閥。
常用截止閥型號及參數見表 2-57 所示。
| 名稱 | 型號 | 公稱壓力 PN/MPa | 適用介質 | 適用溫度/℃≤ | 公稱直徑 DN/mm |
| 襯膠直流式截止閥 | J45J-6 | 0.6 | 酸、堿類 | 50 | 40~150 |
| 襯鉛直流式截止閥 | J45Q-6 | 硫酸類 | 100 | 25~150 | |
| 焊接波紋管式截止閥 | WJ61W-P | 硝酸類 | 10~25 | ||
| 波紋管式截止閥 | WJ41W-6P | 32~50 | |||
| 內螺紋截止閥 | J11W-16 | 1.6 | 油品 | 100 | 15~65 |
| 內螺紋截止閥 | J11T-16 | 蒸汽、水 | 200 | 15~65 | |
| 截止閥 | J41W-16 | 油品 | 100 | 25~150 | |
| 截止閥 | J41T-16 | 蒸汽、水 | 200 | 25~150 | |
| 截止閥 | J41W-16P | 硝酸類 | 100 | 80~150 | |
| 截止閥 | J41W-16R | 醋酸類 | 100 | 80~150 | |
| 外螺紋截止閥 | J21W-25K | 2.5 | 氨、氨液 | -40~150 | 6 |
| 外螺紋角式截止閥 | J24W-25K | 6 | |||
| 外螺紋截止閥 | J21B-25K | 10~25 | |||
| 外螺紋角式截止閥 | J24B-25K | 10~25 | |||
| 截止閥 | J41B-25Z | 32~200 | |||
| 角式截止閥 | J44B-25Z | 32~50 | |||
| 波紋管式截止閥 | WJ41W-25P | 硝酸類 | 100 | 25~150 | |
| 直流式截止閥 | J45W-25P | 25~100 | |||
| 外螺紋截止閥 | J21W-40 | 4.0 | 油品 | 200 | 6~10 |
| 卡套截止閥 | J91W-40 | 6~10 | |||
| 卡套截止閥 | J91H-40 | 油品、蒸汽、水 | 425 | 15~25 | |
| 卡套角式截止閥 | J94W-40 | 油品 | 200 | 6~10 | |
| 卡套角式截止閥 | J94H-40 | 油品、蒸汽、水 | 425 | 15~25 | |
| 外螺紋截止閥 | J21H-40 | 油品、蒸汽、水 | 425 | 15~25 | |
| 外螺紋角式截止閥 | J24W-40 | 油品 | 200 | 6~10 | |
| 外螺紋角式截止閥 | J24H-40 | 油品、蒸汽、水 | 425 | 15~25 | |
| 外螺紋截止閥 | J21W-40P | 硝酸類 | 100 | 6~25 | |
| 外螺紋截止閥 | J21W-40R | 硝酸類 | 6~25 | ||
| 外螺紋角式截止閥 | J24W-40P | 硝酸類 | 6~25 | ||
| 外螺紋角式截止閥 | J24W-40R | 硝酸類 | 6~25 | ||
| 承插焊截止閥 | J61Y-40 | 油品、蒸汽、水 | 425 | 10~25 | |
| 截止閥 | J41H-40 | 10~150 | |||
| 截止閥 | J41W-40P | 硝酸類 | 100 | 32~150 | |
| 截止閥 | J41W-40R | 醋酸類 | 32~150 | ||
| 電動截止閥 | J94H-40 | 油品、蒸汽、水 | 425 | 50~150 | |
| 截止閥 | J41H-40Q | 350 | 32~150 | ||
| 角式截止閥 | J44H-40 | 425 | 32~50 | ||
| 截止閥 | J41H-64 | 6.4 | 50~100 | ||
| 電動截止閥 | J941-64 | 50~100 | |||
| 截止閥 | J41H-100 | 10.0 | 450 | 10~100 | |
| 電動截止閥 | J941H-100 | 50~100 | |||
| 角式截止閥 | J44H-100 | 32~50 | |||
| 承插焊截止閥 | J61Y-160 | 16.0 | 油品 | 15~40 | |
| 截止閥 | J41H-160 | 15~40 | |||
| 截止閥 | J41Y-1601 | 550 | 15~40 | ||
| 外螺紋截止閥 | J21W-160 | 200 | 6~10 |
2-57 什么是球閥?球閥的特點是什么?
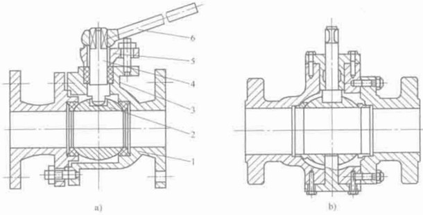
答:啟閉件為球體,繞垂直于通路的軸線轉動的閥門稱為球閥。
球閥的特點:如圖 2-10 所示,球體中部有一圓形孔道,操縱手柄旋轉 90° 即可全開或全關,它具有結構簡單、體積小、流道阻力小、密封性能好、操作方便、啟閉迅速、便于維護等優點;缺點是高溫時啟閉困難、水擊嚴重、易磨損。

圖 2-10 球閥
a)浮動式球閥;b)固定式球閥
1-閥體;2-球體;3-調料;4-閥桿;5-閥蓋;6-手柄
2-58 球閥的應用如何?
答:球閥是由旋塞演變而來,傳統意義的球閥主要用于切斷、分配和改變介質的流動方向。由于計算機鋪助設計(CAD)和計算機輔助制造(CAM)以及柔性制造系統(FMS)在閥門行業的應用,使球閥的使用突破了他原有的使用空間和應用范圍,在美、日、德、法、意、西等工業發達國家,球閥的應用非常廣泛,并向高溫、高壓、大口徑、高密封性能、長壽命、優良的調節性能以及一閥多用多功能的方向發展,其密封性能及使用的安全可靠性均達到了較高的水平。
2-59 球閥如何分類?球閥型號及參數有哪些?
答:球閥的分類為:
1)按連接方法分類:球閥按連接方式可分為螺紋球閥、法蘭球閥、對夾球閥、卡套球閥、卡箍球閥、焊接球閥等。
2)按結構形式分類:球閥按結構形式可分為浮動球式、固定球式、帶浮動球和彈性活動套筒閥座式、升降桿式、變孔徑式、三通浮動球式、夾套浮動球球閥。
常用球閥型號及參數見表 2-58 所示。
| 名稱 | 型號 | 公稱壓力 PN/MPa | 適用介質 | 適用溫度/℃≤ | 公稱直徑 DN/mm |
| 內螺紋球閥 | Q11F-16 | 1.6 | 油品、水 | 100 | 15~65 |
| 球閥 | Q41F-16 | 32~50 | |||
| 電動球閥 | Q941F-16 | 50~150 | |||
| 球閥 | Q41F-16P | 硝酸類 | 100~150 | ||
| 球閥 | Q41F-16R | 醋酸類 | 100~150 | ||
| L 形三通式球閥 | Q44F-16Q | 油品、水 | 15~150 | ||
| T 形三通式球閥 | Q45F-16Q | 15~150 | |||
| 渦輪轉動固定式球閥 | Q347F-25 | 2.5 | 150 | 200~500 | |
| 氣動固定式球閥 | Q647F-25 | 200~500 | |||
| 電動固定式球閥 | Q947F-25 | 200~500 | |||
| 外螺紋球閥 | Q21F-40 | 4.0 | 10~25 | ||
| 外螺紋球閥 | Q21F-40P | 硝酸類 | 100 | 10~25 | |
| 外螺紋球閥 | Q21F-40R | 醋酸類 | 10~25 | ||
| 球閥 | Q41F-40Q | 硝酸類 | 150 | 32~100 | |
| 球閥 | Q41F-40P | 醋酸類 | 100 | 32~200 | |
| 球閥 | Q41F-40R | 油品、水 | 32~200 | ||
| 氣動球閥 | Q641F-40Q | 油品、水 | 150 | 50~100 | |
| 電動球閥 | Q941F-40Q | 50~100 | |||
| 球閥 | Q41N-64 | 6.4 | 油品、天然氣 | 80 | 50~100 |
| 氣動球閥 | Q641N-64 | 50~100 | |||
| 電動球閥 | Q941N-64 | 50~100 | |||
| 氣動固定式球閥 | Q647F-64 | 125~200 | |||
| 電動固定式球閥 | Q947F-64 | 125~500 | |||
| 氣-液動固定式球閥 | Q247F-64 | 125~500 | |||
| 電-液動固定式球閥 | Q847F-64 | 125~500 | |||
| 氣-液動焊接固定式球閥 | Q867F-64 | 400~700 | |||
| 電-液動焊接固定式球閥 | Q267F-64 | 400~700 |
2-60 什么是蝶閥?蝶閥的特點是什么?
答:啟閉件為蝶板,繞固定軸轉動的閥門為蝶閥。蝶閥具有多種疊板結構形式。其蝶板結構是直接隨閥桿轉作啟閉運動的,也可以通過杠桿機構使蝶板做啟閉運動。
蝶閥的特點是結構簡單,體積小,重量輕,節省材料,安裝空間小,而且驅動力矩小,操作簡便、迅速。蝶閥結構如圖 2-11 所示。

圖 2-11 蝶閥
1-閥體;2-蝶板;3-密封圈;4-閥桿
2-61 蝶閥如何分類?蝶閥型號及參數有哪些?蝶閥的應用如何?
答:(1)蝶閥的分類
1)按結構形式分類:蝶閥按結構形式分為對稱軸蝶閥、偏心距蝶閥、管狀蝶閥、轉動式蝶閥、傾斜旋轉式蝶閥等。
2)按密封面材料分類:蝶閥按其密封面材料可分為軟密封(密封副由非金屬軟質材料對非金屬軟質材料或金屬硬質材料對金屬軟質材料構成)、硬密封(密封副由金屬硬質材料對金屬硬質材料構成)。
蝶閥型號及參數見表 2-59。
| 名稱 | 型號 | 公稱壓力 PN/MPa | 適用介質 | 適用溫度/℃≤ | 公稱尺寸 DN/mm |
| 液動蝶閥 | D741X-2,5 | 0.25 | 油品、水 | 50 | 2200~3000 |
| 電動蝶閥 | D941X-2,5 | 1600~3000 | |||
| 電動蝶閥 | D941X-6 | 0.6 | 1200~1400 | ||
| 電動蝶閥 | D941X-10 | 1.0 | 250~1000 | ||
| 氣動蝶閥 | D641X-10 | 250~1000 | |||
| 渦輪傳動蝶閥 | S341X-10 | 250~1000 | |||
| 蝶閥 | D41X-10 | 100~200 |









